摘 要:辅助开关是主开关的一部分,多配置于如隔离开关、真空断路器等电力设备中,作为二次控制回路的分闸、合闸、信号控制和联锁保护作用,同时也可以作为组合开关和转换开关使用。被广泛应用于电力、工业自动化、过程自动化等行业。
关键词:复合式动触头组合结构;凸轮结构;磁块;辅助开关
目前市场上常见凸轮结构的辅助开关,都是复位弹簧处于最小压缩量时,动触头与静触头接触,实现电路的接通;而当复位弹簧压缩到最大压缩量时,动触头与静触头分开,实现电路的分断。即弹簧最大的压缩力作用于触头之间的分断,而弹簧的最小的压缩力作用于触头间的接通,这是结构上的缺陷。即如何能将最大的作用力用于触头的接通,而将最小的作用力用于触头的分断位置,这样不但可提高接通的稳定性,又可以降低外部提供的驱动力,来解决结构与性能之间的矛盾。
一、结构形式
辅助开关整体(图1)包括前铁板(a)、前端盖((b)、后盖板(c)、后铁板(d)、基板单元组件(e)、标识贴(f),转轴(4);
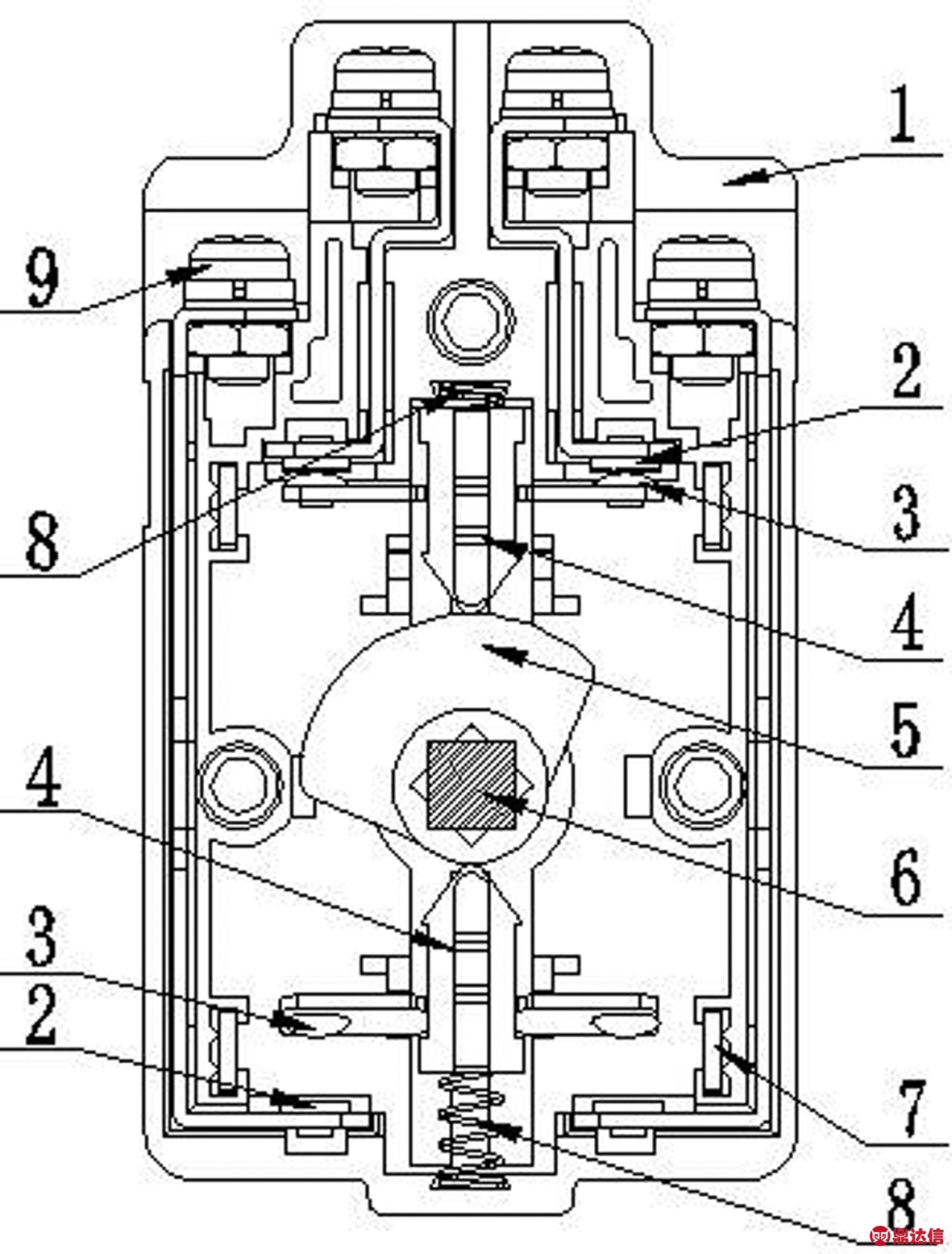
基板单元组件(图2)包括:基座(1)、静触头(2)、动触头(3)、复合式动触头结构组件(4)、凸轮(5)、转轴(6)、磁块(7)、复位弹簧(8)、接线组合螺钉(9);
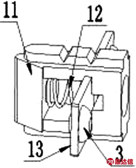
复合动触头组合结构组件(图3),简称复合组件,包括推杆(11)、动触片弹簧(12)、动触片(3)、动触头(14)。

a.前铁板 b.前端盖 c.后盖板 d.后铁板 e.基板单元组件 f.标识贴 4.转轴
图1 辅助开关整体

1.基座 2.静触头 3.动触头 4.复合式动触头结构组件 5.凸轮 6.转轴 7.磁块 8.复位弹簧 9.接线组合螺钉
图2 基板单元结构

11.推杆 12.动触片弹簧 13.动触片 3.动触头
图3 复合式动触头组合结构组件(文章中简称:复合组件)
二、功能介绍
辅助开关的基板单元结构的转轴(6)带动凸轮(5)转动,图2的上半部分,当凸轮(5)由缺口位置转动到非缺口的位置,凸轮(5)不断推动复合组件远离中心,组件同时不断压缩复位弹簧(8),当凸轮(5)的最大外圆接触复合组件的过程中(非缺口位置与复合组件的动触头接触),此时复合组件位置将停止,复位弹簧(8)被压缩到最大,而此时开关的静触头(2)和动触头(3)接触。同样,图2的下半部分,当凸轮(5)的非缺口位置转动到缺口的位置过程中,复合组件在复位弹簧(8)的作用下,沿着凸轮(5)的缺口边缘,不断滑向开关的中心位置,当复合组件被基座(1)的定位柱限制而停止时,此时的复位弹簧(8)压缩为最小值,也是动触头(3)与静触头(2)分断的最终位置。
该复合组件及其辅助开关内部静触头(2)和动触头(3)的相互位置,实现了在复位弹簧力(8)压缩最大时,静触头(2)与动触头(3)接触,而在复位弹簧(8)压缩在最小值时,动触头(2)和静触头(3)分开。解决了上述提出的结构与性能的矛盾。
三、关键技术点
复合式动触头组合结构组件,相对传统的结构,它增加了动触片弹簧,并内置与推杆的内部。通过复位弹簧和动触片弹簧的相互的转换,同时通过静触头和动触头的相对的位置关系,来实现了开关的接通和断开的特点。
四、主要作用
(1)全新结构的复合式动触头组合结构组件,实现作用力大时为触头接通,作用力小时为触头分断,提高了触头的接通稳定性。
(2)特别是在慢速动作机构中的辅助开关,该结构配合,也大大降低了复位弹簧的本身压力衰减,而产生的接触不良的问题。
(3)该结构可以降低了外部的驱动力,这就增大了辅助开关的适用性,满足低速、小驱动力的机构中被使用。
五、结语
本文中提到的全新的复合式动触头结构组件,可以有效在辅助开关结构中的应用,可以有效解决传统凸轮结构中的难题,从实际的使用效果和接触稳定方面获得了很大的认可,可以引领辅助开关行业更好的发展。



