摘 要 公路现浇宽箱梁桥的设计需要考虑箱梁畸变-翘曲效应,采用建立柔性梁格法可有效弥补这一短板。整体箱梁不等跨腹板在结构受力上差别较大,可以采用分腹板配束方式。大跨径预应力横梁的变形和耐久性设计可以通过合理的配束以及结构形式得到解决。
关键词 宽箱梁 异形横梁 柔性梁格法 耐久性设计
1 引言
宽箱梁在公路桥梁和市政桥梁上的应用越来越广泛,传统的杆系计算理论只考虑了箱梁的纵向扰曲和自由扭转,而宽箱梁的畸变翘曲效应的忽视给设计带来了较大的不安全因素,因此,考虑箱梁畸变翘曲的梁格分析理论在宽箱梁桥的设计中越来越受重视。公路设计中,跨河、跨路小交角桥梁已经非常普遍,这类桥梁上部结构一般采用整体现浇的箱梁桥,而被交叉道路或者河流的情况多变,下部结构常常需要做成特殊的布置,这使得桥梁整体的受力更加复杂。因此,专门研究这一类桥梁的设计计算有着重要的意义。
2 箱梁的畸变理论
箱梁截面在反对称荷载的作用下,由于箱型界面的几何可变特性,除了引起箱梁的刚性扭转效应外,还能产生以横向弯曲为主的截面畸变,这种横向弯曲会引起箱梁在纵向的附加正应力和剪应力,称为箱梁截面的翘曲正应力和翘曲剪应力[1]。
关于箱梁截面的畸变应力计算,国内外做了大量的研究,其中,基于弹性地基梁比拟法(BEF Method)[2]应用较为广泛。该理论是根据在畸变荷载作用下,箱梁的变形能量守恒推导得到的一个弹性地基梁扰曲微分方程。箱梁畸变微分方程为:![]()
式中,
EIR——箱形梁横向框架刚度;
EI——截面畸变翘曲刚度。
受竖直荷载作用的弹性地基梁的扰曲微分方程为:
式中,
;Y——扰度;k——地基的弹性系数;EI——梁的竖向抗弯刚度;q——竖向荷载。
根据弹性地基梁弯曲和箱形梁畸变的相似关系可以求解箱形梁的畸变微分方程。关于箱梁畸变微分方程的求解,可以采用弹性地基梁的求解方法如除参数法。若λL≥4时,跨中区域相似于两边为无限长的地基梁,两端部相似于一边为无限长的弹性地基梁;λL<4时,则按有限长的弹性地基梁求解。求解得到畸变角度后,可求得畸变翘曲应力。
实际设计中常常采用梁格有限元分析模型对箱梁畸变翘曲进行数值模拟,这样避免了求解复杂微分方程带来的麻烦,提供了设计效率。
3 工程概况
官渡黄河桥工程是河南省干线公路规划中的国道107改线跨越黄河的重大工程,官渡黄河桥的建设对加快以郑州为核心地区的中原经济区建设进程,促进河南省乃至全国经济发展都将产生积极深远的影响。西干渠中桥为官渡黄河桥接线跨越西干渠的结构物,跨径布置为25m+40m+33m,其平面图和断面图如下图1~3所示。
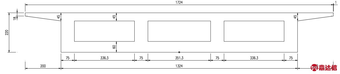
西干渠中桥箱梁顶板宽17.24m,底板宽13.24m,悬臂长2m,按照等截面单箱三室设计。两侧箱室宽度为3.408m,中间箱室宽度为 3.543m,梁高 2.2m,桥面设置2.0%的横坡。箱梁顶板厚度为25cm,底板厚度为22cm,跨中腹板厚度为45cm,支点腹板厚度为75cm。西干渠中桥为预应力混凝土桥,异形横梁设置预应力。

图1 西干渠中桥平面图

图2 西干渠中桥支点断面图

图3 西干渠中桥跨中断面图
4 纵向配束研究
西干渠中桥为异形现浇箱梁桥,桥宽为17.24m,桥梁宽跨比分别为0.69、0.43、0.52,而且横梁特殊布置需要考虑箱梁截面的畸变翘曲,因此,建立以剪力柔性梁格理论[3]为基础的梁格分析模型更为准确。西干渠中桥沿路线中心线的跨径布置为25m+40m+33m,而沿腹板1~腹板4中心线 (如下图4)的跨径布置分别为25m+34.53m+38.47m、25m+36.08m+36.92m、25m+37.63m+35.37m、25m+39.19m+33.81m,每个腹板的竖向变形相差较大,若按统一跨径布置钢束,不能有效的发挥钢束的效应,因此,基于各个腹板跨径的钢束布置更为有效。纵向钢束采用标准强度为1860MPa的高强低松弛钢绞线,钢束张拉控制力为 1339MPa,钢束规格为 15 15.2、12 15.2。

图4 腹板布置图
利用桥梁专用有限元分析软件MIDAS建立基于剪力柔性梁格理论的梁格分析模型,如下图5、图6所示。

图5 西干渠中桥梁格模型消隐图

图6 西干渠中桥梁格模型离散图
基于各个腹板跨径的纵向配束正常使用阶段频遇组合[4~5]计算结果如表1所示。可以看出,这种配束方式有效的发挥了钢束的效应,符合结构受力规律。
表1 正常使用阶段频遇组合正截面应力分析结果

5 预应力横梁配束设计
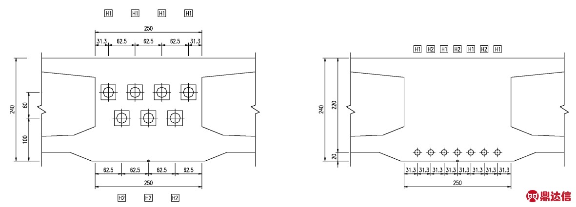
左幅2号桥墩和右幅1号桥墩处横梁为预应力横梁,横梁为 2.5m(宽)×2.2m(高)矩形,斜 20°,横梁总长21.847m,立柱间距19m,预应力横梁立面、平面、断面图如下图7~9所示。
横梁钢束采用标准强度为1860MPa的高强低松弛钢绞线,钢束张拉控制力为1339MPa,钢束规格为25 15.2。根据全桥建立柔性梁格模型计算结果,建立预应力横梁的横梁分析模型。
分析结果如下:预应力钢束最大应力为1157.53MPa,小于规范要求1209MPa;正常使用阶段频遇组合最大拉应力为0.3907MPa,小于规范要求1.855MPa;正常使用阶段准永久组合最小压应力为1.1785MPa,全截面受压;正常使用阶段标准组合正截面最大压应力为12.2319MPa,小于规范要求16.2MPa;正常使用阶段标准组合斜截面最大主压应力为12.6121MPa,小于规范要求19.44MPa;正截面抗弯和抗剪承载力均满足规范要求值。综上,分析结果均满足 《公路钢筋混凝土及预应力混凝土桥涵设计规范》相关规定。
可以看出,西干渠中桥预应力横梁的钢束采用了不对称、交错的布置形式,这种配束方法使得横梁各个截面应力分布较为均匀,钢束效应明显,结构受力更为明确。
6 预应力横梁墩梁连接研究

图7 预应力横梁立面图

图8 预应力横梁平面图

图9 预应力横梁断面图
预应力横梁与桥墩的连接方式直接影响到预应力横梁的内力分配和后期徐变造成的变形,因此,选择合理的横梁墩梁连接形式是西干渠中桥长期耐久性设计的关键。西干渠中桥预应力横梁墩梁连接形式可采用支座连接的柱式墩(工况一)和墩梁固结的框架墩(工况二),其结构简化图如图10。基于工况一和工况二建立全桥的建立柔性梁格模型。

图10 预应力横梁墩梁连接图
通过模型计算,分别提取两种工况下主梁收缩徐变前后的最大位移,如下表2所示。
表2 不同墩梁连接的位移比较

由表2可以看出,墩梁固结形式的主梁成桥位移是柱式墩的两倍,柱式墩的10年收缩徐变位移为0.793mm,墩梁固结10年收缩徐变位移为2.9mm。因此,西干渠中桥预应力横梁宜采用柱式墩的形式。
7 结语
本文以官渡黄河桥西干渠中桥为背景,重点研究了现浇宽箱梁-异形横梁桥的设计,通过研究得到了以下结论:
(1)斜交横梁引起的主梁腹板支撑跨径不同,采用各个腹板跨径的配束形式不仅节约了钢束的用量,而且更能有效的发挥钢束效应,使桥梁结构受力更加合理;
(2)宽箱梁-异形横梁桥采用剪力柔性梁格分析的方法,可以较为准确的描述箱梁的畸变-翘曲响应,使结构设计更为合理和安全;
(3)大跨径预应力横梁的设计需根据横梁的荷载分布形式,根据横梁的内力分布,有针对性的进行配束研究,必要时可采用不对称或者交错配束的形式;
(4)宽箱梁-异形横梁桥在较大跨径横梁的支撑下,预应力横梁宜采用柱式墩支座连接的形式,从而有效控制由于徐变带来的主梁长期下扰问题。



