摘 要: 活塞式压力计是压力计量领域使用最广泛的标准器。以活塞式压力计为标准器时,其与被测压力类仪表的高度差是重要的影响量。考虑测量高度差时需要测量活塞的下端面,对不同构造(规则圆柱体或具有限位装置和空心结构的不规则体)的活塞进行分析,提出了测量原理、方法和过程。分别对油介质和气介质的活塞式压力计进行计算,结果显示油介质活塞式压力计未进行高度差修正时对测量结果影响较大,而气介质活塞式压力计对高度差的影响较小。
关键词: 压力 测量 传感器 变送器 误差 精度 仪器仪表 信号传输 校准
Abstract: The piston gauge is the most widely used standard device in pressure metrological region.When piston gauge is used as the standard device,the height difference between the gauge and the measured pressure instrument is an important influence quantity.Due to measuring the lower end surface of the piston gauge is requested when the height difference being measured,the pistons gauges with difference structure (regular cylinder structure or irregular style with limit or hollow structure) are analyzed,the measuring principle,method and procedures are proposed.Through calculating for the piston gauges with oil medium and gas medium respectively,it is found that the measurement result of the oil medium piston gauge is greatly influenced when the height difference has not been corrected,while the gas medium piston gauge is less influenced by the height difference.
Keywords: Pressure Measurement Sensor Transmitter Error Precision Instrumentation Signal transmission Calibration
0 引言
活塞式压力计以其较高的准确度、较好的长期稳定性,成为压力真空计量领域使用广泛的标准器。活塞有效面积的测量方法分为起始平衡法和直接平衡法。使用直接平衡法时,需要准确测量高度差。对于高度差的测量,最重要的问题是准确确定活塞参考面,选择尽量准确的测量方法来测量参考面的高度[1-6]。无论活塞式压力计的工作介质是气体或液体,气柱或液柱高度差在重力作用下引起的测量误差都不容忽视,必须进行测量。首先必须确定一个参考位置,如活塞为圆柱体,则可选定活塞的下端面为参考面[7-8]。压力量值检定或校准时应使标准与被测数字压力计的参考端在同一水平面上,应重视高度差修正[9-10]。下面对于规则圆柱体和非规则活塞(底部有限位结构和内部中空结构的活塞),讨论和分析活塞下端面的测量原理、方法和过程。
1 活塞高度的测量原理
1.1 规则圆柱体的活塞
对于规则圆柱体的活塞,其活塞的下端面为参考面,只需测量参考面的高度即可。圆柱体活塞的构造图如图1所示。

图1 圆柱体活塞的构造图
Fig.1 Structure of the cylinder shape piston
活塞分为Ⅰ、Ⅱ(虚斜线部分)两部分,p1、p2、p3分别对应水平面1、2、3处的压力。考虑活塞p1处的面积S0,如图1所示,活塞处于空气中的部分为Ⅰ,进入工作介质中的部分为Ⅱ,重力为G,浮力为F浮,粘滞力为f,g为当地的重力加速度。
对于活塞建立平衡方程:(p1-p2)S0=G-F浮-f,
。
对活塞的Ⅱ部分进行受力分析:FⅡ浮=GⅡ=ρmgS0H,可得:
(1)
对于规则圆柱体的活塞,其有效面积参考面处于p3所在的水平面,测量高度差时只需测量活塞杆的最底部即可。
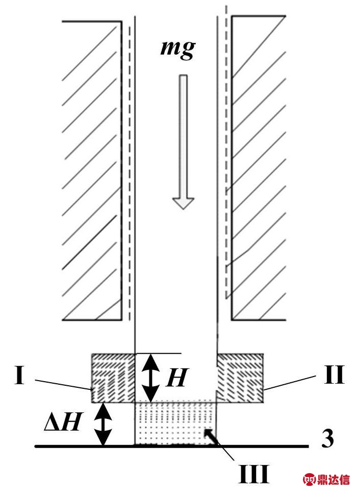
1.2 底部有限位结构的活塞
讨论底部具有限位结构的活塞,其结构如图2所示。限位结构(Ⅰ和Ⅱ)位于活塞杆的底部,Ⅲ为理论计算模拟部分。对活塞限位结构部分进行理论分析,考虑浮力作用,效果如同在活塞杆最底部增加了ΔH,活塞的下端面处于水平面3所在的位置。VⅠ+VⅡ=VⅢ,V为体积,具体分析过程与1.1同。

图2 具有限位结构的活塞结构图
Fig.2 Structure of piston with limit structure
对于具有限位结构的活塞,其下端面的计算如下。首先测量活塞下端面的高度值Hp,根据理论计算得到的限位部分高度修正值为
(S0为活塞面积标称值),则活塞下端面的高度值为
。
对于4台不同测量范围的活塞式压力计,根据实测活塞参数计算得到的高度修正值以及未修正带来的影响列于表1中。
在本地区使用表1中测量范围为2~70 MPa的活塞式压力计,以癸二酸二异辛酯为介质,工作环境的温度为(20.0±0.1)℃。当该活塞式压力计产生2 MPa的标准压力时,因液柱高度差测量不准带来的相对误差为:
η=Δp/ps=(ρf-ρa)gΔH/ps
(2)
式中:ρf,ρa分别为工作介质和空气的密度, 且ρf=912.7+(0.752×p-0.001 65×p2+0.000 001 5×p3)×[1-0.000 78×(t-20)];p为相对压力,MPa;t为温度。
同理,各活塞式压力计在其测量下限使用时限位结构未修正带来的相对误差见表1。由此可见未对限位结构修正的活塞式压力计,其准确度等级远远不能满足0.05级的要求。
表1 具有限位结构的活塞高度的计算值
Tab.1 ΔH of the piston with limit structure

1.3 中空结构的活塞
对于测量下限较小的气体活塞式压力计,若采用合金钢材质的活塞系统,其内部一般为空心结构,如图3所示。图3中,Ⅰ和Ⅱ为圆环结构,Ⅲ为模拟部分。

图3 具有中空结构的活塞构造
Fig.3 Structure of piston with hollow structure
根据理论计算得到的空心部分高度修正值为
,Hp0为空心圆柱体的高度,活塞下端面的高度值为
),活塞的下端面处于水平面3所在的位置。对于2台不同测量范围的活塞式压力计,根据实测活塞高度值和理论计算的高度值修正值以及未修正带来的影响列于表2中。
表2 具有中空结构的活塞高度的计算值
Tab.2 ΔH of the piston with hollow structure

使用测量范围为14~700 kPa的活塞式压力计产生测量下限的标准压力时,气柱高度差未修正带来的相对误差代入式(2)计算,另一个活塞式压力计在其测量下限使用时中空结构未修正带来的误差见表2。其中
,p为绝对压力,单位Pa。由此可见,对于气介质活塞式压力计而言,中空结构的活塞其未修正高度值对测量结果的影响较小。
2 测量方法和过程
活塞高度的测量过程如图4所示。首先,使活塞处于平衡位置,做出高度标志线,以标志活塞位置;然后缓慢取出活塞,将其处于竖直方向并紧贴活塞筒,找到标志位置,使活塞筒的上部与高度标志线相齐,此时使用数显高度卡尺测量活塞的下端面,高度值即为活塞下端面与参考面的高度差值。

图4 测量过程示意图
Fig.4 Schematic diagram of the measurement process
3 高度差测量的应用
选用液体为介质的活塞式压力计,应使精密表指针轴与活塞压力计活塞的下端面处于同一水平面,当液柱高度差产生的压力超过被检表最大允许误差的1/10时,应对由此产生的误差按公式Δp=ρgΔH[11]计算得出。ΔH的测量方法如图5所示。
根据测量方法测出活塞的高度H1,并测量精密表指针轴所在水平面的高度H2,则ΔH=H2-H1。

图5 高度差测量示意图
Fig.5 The schematic of height difference measurement
4 结束语
在准确测量活塞的高度时,关键是确定参考面。规则圆柱体结构的活塞的下端面即为参考面;而非规则的活塞的参考面:对于油介质的活塞式压力计,限位结构带来的误差影响其作为标准器的使用;以气体为介质时,其中空结构带来的误差影响较小。只有掌握了活塞高度参考面的测量原理和方法,才能减小测量过程中的误差,保证压力量传的一致性和准确性。



