摘要:针对光伏汇流箱监测单元普遍存在的采样质量不够高,故障诊断种类较少且个别故障诊断逻辑造成误判,不具备电能计量功能且不能保证电能值的长期读写,监测单元为裸露电路板4方面问题进行分析说明,并针对所述问题提出相应的解决方案,通过理论分析和实际测试验证了解决方案的正确性和可行性。所述解决方案原理简单、易于实现、操作方便,具有广泛推广的现实意义。
关键词:光伏汇流箱;监测单元;采样质量;故障诊断;电能计量;电路板
0 引言
光伏汇流箱是大型光伏电站最基本的电量汇集单元,在大型光伏电站中数量众多,安装数量在360台~1200台之间。同时,由于光伏电站地域广袤,导致汇流箱的分布也极其分散。正是因为汇流箱具有数量多、分布广的特点,所以汇流箱对其监测单元的采样的质量、运行的可靠性、功能的丰富性提出越来越高的要求。如果汇流箱监测单元采样质量低、无法正常运行或功能贫乏,就会导致用户对光伏方阵的监测出现盲区。当汇流箱或其连接的光伏组串出现事故后,用户无法第一时间获取信息并赶赴现场,从而造成事故蔓延,产生巨大的经济损失。
1 监测单元的应用现状及存在问题分析
目前汇流箱监测单元大都可以对箱内电流、电压进行采样,对防雷、母线、光伏组串进行简单的故障诊断,并具备与主站通讯的功能,但是,监测单元的应用依然存在以下问题。
1.1 采样质量不够高
采样的高质量可解析为4个标准:精确、可靠、稳定、灵敏。目前的汇流箱监测单元针对上述4个方面或多或少都存在不足。
精确:目前大部分监测单元的精确度都标称为1%,实际上很多客户的要求都已经达到0.5%。产品采样精确性与市场需求产生脱节。
可靠:要求监测单元受到外界干扰后依然能够正常采样或采样出现异常后能够自行恢复。
从实际工程来看,黎明和傍晚时段对采样的可靠性影响最大。这是由于监测单元绝大多是为自供电方式,即电源输入取自光伏组件本身。在黎明傍晚时段,光照强度波动大且较小的光照强度使得光伏组件产生的电压恰在监测单元的电源启动门槛值附近。图1为监测单元的电源施加门槛启动电压时的输出上升波形,电源正常输出电压为24 V,从图中可见在0 V到24 V的变化过程中斜率非常大,持续时间仅为120ms。图2为监测单元掉电时的输出跌落波形,从图中可见在24 V到0 V的变化过程中斜率相对较小,持续时间达到600ms。

图1 电源输出上升波形
Fig.1 Rising waveform of power output

图2 电源输出跌落波形
Fig.2 Falling waveform of power output
当监测单元的电源输入电压在启动门槛值附近波动时导致电源输出的抖动较为剧烈,见图3。从图3中可见电源输出从24 V降落到12 V时突然又恢复到24 V。

图3 电源输出波动波形
Fig.3 Fluctuation waveform of power output
监测单元电源的输出为测量芯片提供工作电压,工作电压的波动会导致测量芯片反复初始化。在测量芯片初始化过程中一般涉及到对芯片的配置,一旦初始化失败则无法正常采样。实践证明该概率虽然不到1%,但是由于光伏电站中汇流箱数量众多,黎明傍晚时段仍会出现监测单元初始化失败的情况,从而无法正常采样给用户带来损失。
稳定:当采样对象在一段时间内稳定时要求采样值的波动也稳定在一定范围内(电流采样值的波动一般不超过100 mA,电压采样值的波动一般不超过5 V),且各组串电流采样之间没有相互干扰(即某组串的电流改变时其他组串电流的采样应该不受影响)。
实际工程中很多监测单元不满足稳定性要求。采样波动大是因为没有合适的滤波算法。各组串电流采样之间存在相互干扰是因为目前主流电流采样元件为传感器,传感器的一次、二次侧通过磁场进行耦合。当传感器之间相邻距离太近或主回路导线不平直,则主回路电流的磁场对相邻传感器产生干扰,从而出现组串电流采样相互干扰的情况。
灵敏:要求采样满足一定的刷新速率,一般为0.5 s。这是考虑到单台监测单元与主站之间每次信息交互时间通常小于0.6 s,采样刷新速率小于0.6 s是比较合理的。
实际上很多汇流箱的采样刷新速率会大于1 s。这是因为滤波算法中整个量程范围内使用同一个误差条件f或采样窗口过长所致。倘若整个量程范围内使用同一个误差条件势必导致小采样值或大采样值刷新速率慢;当采样窗口过长则意味着参与误差比较的样本过多,当任意一个不满足误差条件则导致本次采样不刷新,因此也会延缓刷新速率。
1.2 故障诊断种类较少,个别故障诊断逻辑造成误判
目前监测单元很少具备“弧光故障诊断”。汇流箱内产生弧光后,弧光会以300m/s的速度迸发,摧毁途中的物质。只要汇流箱不断电,弧光就会一直存在,因此很有必要加设弧光故障诊断。
容易造成误判的故障诊断是“组串断路故障”。导致此种故障的原因多是熔断器熔断或组串回路松动,诊断的目的是及时告知用户采取相应措施以免损失更多的发电量。常见故障逻辑为图4。

图4 常见断路故障诊断框图
Fig.4 Usual block diagram of open circuit
Udoor-电压门槛
|Im|-第m路电流绝对值
Idoor-有流门槛值
Tdl-延时时间
(3)急速加热下的CaCO3分解反应速率比TGA快,活化能小于同条件下TGA测得的活化能,且动力学机理符合随机成核及长大模型,与TGA等慢速加热实验中测得的收缩核模型存在较大差异。
1.3 不具备电能计量功能且不能保证电能值的长期读写
一些用户为了比较组串之间的发电效率都会要求监测单元具备单个组串电能计量及整个汇流箱的总电能计量。实际上很多监测单元不具备电能计量功能。有些监测单元具备此功能却面临着频繁读写电能值的问题。这是因为光伏电站的设计运行时间通常为20年,正常情况下测量装置每天上电时读取一次累计电能值,掉电时存储一次累计电能值,则20年内每台测量装置需要读写7300次,考虑到黎明傍晚时段测量装置的电源在启动门槛附近波动,很可能导致测量装置1天内多次读写累计电量值,因此对存储芯片的读写次数非常可观。但是存储芯片的擦写寿命是有限的,因此必须最大程度地利用存储芯片的写操作次数。
1.4 监测单元为裸露电路板
裸露电路板存在以下缺陷:
a)考虑到出厂安装的复杂度,监测单元的电路板大多平铺在汇流箱内,占用汇流箱大量面积,据统计约为797 cm2,从而导致汇流箱体积庞大。加之汇流箱的箱体材质多为冷轧钢板,现场搬运费时费力。
b)虽然监测单元的强电回路标有危险标志,但是由于监测单元均为裸露电路板,还是存在运行人员遭受电击的风险。
c)现场施工不规范的现象大有存在,箱体IP65的防护等级由于施工的原因可能会受到削弱。汇流箱是户外设备,长期受到风沙雨雪及盐雾的腐蚀后,监测单元的裸露电路板极易短路锈蚀,从而无法可靠运行。
2 解决方案
2.1 高质量采样的实现
精确:更大程度上取决于硬件的分辨率,选用一款高精度测量芯片并配合软件上的偏移及增益校准一般都能保证,此处不再赘述。
可靠:增加测量芯片故障诊断功能以便实时诊断测量芯片工作状态。一旦检测出测量芯片故障则进行可靠的初始化使测量芯片快速恢复正常工作状态。
测量芯片故障诊断的方法如下:由于测量芯片初始化过程中对一些特殊寄存器进行写操作配置,则可以实时读取这些特殊寄存器的数值与“预写数值”进行比对,一旦二者不吻合则认为测量芯片故障,此时触发测量芯片初始化操作以便测量芯片恢复正常工作。
要确保测量芯片的可靠初始化,特别要注意芯片各引脚时序的配合。时序的时延选用典型时间,切不可为了追求装置的快速启动而冒险选用最小时间。当时序时延采用最小临界值时会导致初始化失败。
稳定:需要采用滤波算法进行实现及改善电流采样回路。采样示意图见图5。

图5 电源输出波动波形
Fig.5 Sampling sketch
设采样窗口长度为n,采样值为a1~an,采样顺序为循环采样,即当采样窗填满后,下一个采样覆盖第1个采样。设当前采样为第m个采样,其采样值为am,将am与n个采样值进行比较,如果误差均满足误差条件f,则采样读数刷新为am,如果差值不全满足条件f,则采样读数不刷新,但am仍需保存,因为有可能此刻采样对象确实已经发生了变化,当再次进行完n-1次采样后采样对象的变化便能通过采样读数显示出来。
设计电路板时要保证采样回路中的传感器之间不存在交错重叠,从装配工艺上保证各个组串回路中导线的平直。
灵敏:误差条件函数f采用分段函数。小采样值的误差条件应为绝对误差,大采样值的误差体检应为相对误差。采样窗口长度建议小于等于5,过小会失去滤波意义,过大则延长刷新时间。
2.2 故障诊断的完善与优化
弧光故障诊断:由于弧光故障持续时间短,因此将弧光信号开入量的采样放在中断中实现,中断周期为1 ms。累积5次采样到弧光信号开入量为高电平时(每次定时器中断采样1次,弧光信号开入量为高电平时正向累积1次,为低电平时负向累积1次。),弧光故障诊断遥信位动作同时输出开出保护信号,常开继电器在闭合接点Thg时间后断开接点。故障遥信位动作保持时间为60 s,60 s后如果累积5次采样到弧光信号开入量为低电平时(每次定时器中断采样1次),弧光故障诊断遥信位清零。弧光故障诊断逻辑见图6。
Thg-保护继电器吸合时间

图6 弧光故障诊断框图
Fig.6 Block diagram of arcing fault
组串断路故障诊断:结合第1节中对常见断路故障诊断判据的分析,考虑到汇流箱所有组串同时断路为小概率事件,因此增加电流闭锁条件:输出电流大于组串有流门槛值与组串数量的乘积,实践证明这样可以较好的规避上述误判情况,故障逻辑见图7。

图7 优化断路故障诊断框图
Fig.7 Optimal block diagram of open circuit
|Iout|-输出电流绝对值
Udoor-电压门槛
OpenCircuitDoor -断路故障警报启动门槛, 数值上为组串有流门槛值与组串数量的乘积。
|Im|-第m路电流绝对值
Idoor-有流门槛值
Tdl-延时时间
2.3 电能计量及电能值长期读写的实现
电能计量可以通过对△t*P(时间与功率的乘积)的求和方式实现,△t应尽量小以便保证电能值的准确度。最终将量纲归算为千瓦时或度。需要注意的是考虑到长时间的累计电能值长度很大,所以存储类型应为长整形。
电能值长期读写的实现方法如下:以存储芯片的最小擦写地址范围(称为每一页)为基本单元进行分区循环擦写,并确保每一页可以有效的写入累计电能值和其他必要信息。设分区页数为n,则将存储芯片的累计电能读写次数扩展n倍,但同时又带来累计电量值读写的复杂性。为方便描述,列表进行符号声明,见表1。
表1 符号声明
Tab.1 Notation declaration

监测单元上电操作
a)主芯片上电后先读出存储芯片中p到q页的WEFTp~WEFTq。
b)如果WEFTp~WEFTq均为0xffff,则说明主芯片从未存储过电能,将p到q页的1~6字节赋值为0;本次电能存储操作在第p+1页。
c)如果WEFTp~WEFTq不全为0xffff,则找出其中最大值WEFTmax。
d)假设WEFTmax在第m页,且第m页中的WEFT比前一页的WEFT大1(如果m=p,则前一页为q),则认为第m页的WE为最后一次有效存储的电能值。
e)如果d)不满足,则确认次大值所在页的WEFT是否比前一页的WEFT大1,以此类推,目的是为防止写操作失败导致WEFT为随机值。
f)读出最后一次有效存储的电能值WE及其所在页x,将WE赋值给TE。
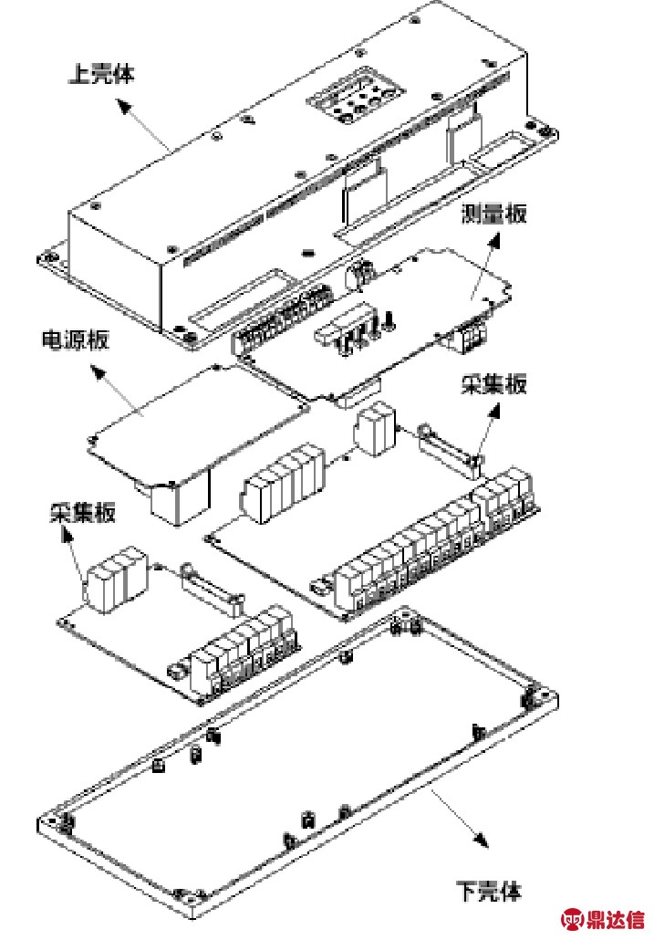
2.4 监测单元改为封装方式
监测单元不再以裸露电路板的形式展现给用户,而是拥有自身的壳体,见图8。封装后的监测单元具有以下优势:
a)利用外壳的支撑,监测单元各电路板实现了从平面安装到立体安装的转变。由于封装监测单元的最高点小于汇流箱内断路器的最高点,故不会引起箱体深度的增加,但却能减少汇流箱的面积,封装后的监测单元的面积约为512 cm2,相对常规监测单元减少284 cm2,因此显得小巧精致。
b)封装外壳的材质为PC与ABS的合成塑胶,阻燃等级在V-1以上,同时具有绝缘特性。通过外壳将强电回路封装起来以后,规避了用户遭受电击的风险。
c)封装式外壳对电路板防护后,极大程度减小了风沙雨雪及盐雾对监测单元的侵蚀速率,提高了可靠性。

图8 爆炸图
Fig.8 Explode diagram
3 结论
本文第1节中所述的问题在光伏汇流箱监测单元当前工程应用中普遍存在,对用户的运维及供应商的售后工作带来很大的困扰,第2节中所述的解决方案原理简单、易于实现、操作方便,经实践验证能够有效解决第1节中描述的问题,具有广泛推广的现实意义。



